
PUMPA - SMART LEARNING
எங்கள் ஆசிரியர்களுடன் 1-ஆன்-1 ஆலோசனை நேரத்தைப் பெறுங்கள். டாப்பர் ஆவதற்கு நாங்கள் பயிற்சி அளிப்போம்
Book Free DemoColour of the Sun at Sunrise and Sunset:
Have you noticed the sky and the Sun at sunset or sunrise?
![]() Sunrise | ![]() Sunset |
Have you ever questioned why the Sun and the surrounding sky appear red?
In this section, we will try to understand the blue colour of the sky and the reddish appearance of the Sun at sunrise or sunset through an activity.
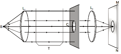
Procedure:
- At the focus of a converging lens (\(L1\)), locate a strong source (\(S\)) of white light. This lens gives a parallel beam of light.
- Let the light beam pass through a transparent glass tank (\(T\)) containing clear water.
- Let the light beam pass through a circular hole (\(c\)) made in cardboard. Get a sharp image of the circular hole on a screen (\(MN\)) using a second converging lens (\(L2\)), as shown in the figure.
An arrangement for observing scattering of light in colloidal solution
- Dissolve approximately \(200\ g\) of sodium thiosulphate (hypo) in around \(2\ L\) of clean water taken in the tank.
- \(1\ to\ 2\ mL\) of concentrated sulphuric acid is added to the water.
What do you observe?
You will see fine microscopic sulphur particles precipitating in about \(2\ to\ 3\ minutes\). As the sulphur particles start to form, you can see the blue light from the three sides of the glass tank. This is due to the scattering of short wavelengths by minute colloidal sulphur particles. Notice the colour of the transmitted light from the fourth side of the glass tank facing the circular hole. It is interesting to initially see the orange-red colour and then the bright crimson red colour on the screen.
This activity describes the scattering of light that assists you to understand the bluish colour of the sky and the reddish form of the Sun at sunrise or sunset. Light from the Sun near the horizon travels through thicker layers of air and larger distances in the atmosphere of the earth before reaching our eyes (shown in the figure).

Reddening of the Sun at sunrise and sunset
However, light from the Sun overhead would move a relatively shorter distance. At noon, the Sun looks white as only a little of the blue and violet colours are scattered. The particles near the horizon scatter most light with shorter wavelengths and blue light. Hence, the light that reaches our eyes is of longer wavelengths. This provides rise to the reddish appearance of the Sun.

